Technology Offers Site map description
E
Jim Pantzos posted this:
Enhancing sustainability and reducing food waste at all points along the food value chainWe are an innovative group with disruptive technology focused on reducing food waste at all points along the Value Chain. We've developed multiple versions of a web-based platform that will instantly connect, in real time, B2B Buyers to the Suppliers of short-dated product. With enhanced features that include the opportunity to execute transactions in advance, potential food waste is reduced (upstream) at the planning stage thus contributing to a sustainable value chain.
Founder at ResetfoodsUnitat de Valorització de la URV posted this:
ENTREVISTO: Platform for selection of employees for the service sector."Entre-Visto" is an application that allows to develop a structured interview for the confirmation and contrast of the information offered by the traditional tests used in the selection process.
Licensing Manager at Fundació URVCSIC - Consejo Superior de Investigaciones Científicas posted this:
Environmental indices through LandSAT images The Spanish National Research Council (Consejo Superior de Investigaciones Científicas, CSIC) has developed the software GINASAT version 1.0 (Semi-Automatic Generation of Environmental Indices by Landsat), to automate the extraction of information from Landsat satellite images downloaded from USGS (US Geological Survey) server (http://earthexplorer.usgs.gov/). The program has been developed in version 1.0 and it runs integrated into ArcGIS©, for different versions from 10.Universitat Politècnica de Catalunya - UPC posted this:
Environmental Quality Assessment of contaminated soilsEnvironmental quality of soils is determined using analytical chemistry methods, with expensive and sophisticated equipment. Toxicity assays provide a global response regarding the danger of contaminated soil to living organisms. However bioassays are based in lengthy experimental procedures (between 7 and 28 days) to provide reliable results. Normalized soil assays use different species of earthworms and collembola that must be grown and maintained in specialized facilities. Partners to further develop the technology and/or to establish commercial agreements along with technical cooperation are sought.Universitat de València posted this:
Environmentally friendly colorimetric sensors for detecting hydrogen cyanide (HCN)The main advantages provided by the this colorimetric sensor are: - Detection Limits: The direct reaction between the sensor and the HCN leads to a marked color change with detection limits below 1 ppm. - Selectivity: in the presence of other gases such as CO, HCl, NH3, H2S, at concentrations up to 50 ppm - Environmentally friendly: no heavy metals used. - Reversibility: The reaction is reversible by irradiation with UV light so it can be reused in successive cycles - Minimizing false positives: Regeneration by UV radiation occurs only if the sensor reacted with HCN.Cardinaltech Company S.L. posted this:
Environmentally friendly graffiti removerGraffiti has become a hurdle for most cities, public transportation and private owners, to maintain their infrastructures clean with ease at reasonable costs. Our solution is looking to solve the need of a product that truly works in multiple surfaces, in a relatively short time, without specific safety equipment and training and without any human safety risks (e.g.: strong chemical solvents), while not damaging the original surface. A user-friendly product, that can be used both by professionals and individuals, and that’s also environmentally friendly. We believe it’s hard to find a solution that truly works while tackling all these needs. Link to a video to see its performance: https://youtu.be/bw025FbYmtQUniversidad de Alicante posted this:
Environmentally friendly holographic recording materialOur research group has developed a new photopolymer which may be used as a holographic recording material. It is easy to prepare in layers of the desired thickness and has a lower potential toxicity than conventional materials. It is characterized by being environmentally friendly, since it does not contain any petroleum-derived solvents or other components classified as toxic, biotoxic, explosive, radioactive, oxidising, corrosive, inflammable or environmentally hazardous, and no such substances are used to prepare it. The only solvent used is water, thus minimizing any risk of contamination and, at the end of its useful life, it is easy to recycle in aqueous phase. It is possible to automatize all the stages of its preparation, and it enables holograms to be obtained in a single stage without the need for subsequent processing. We are looking for companies interested in acquiring this technology for its commercial exploitation. Innovative aspects: • Due to its characteristics and the fact that during the preparation process, its useful life and subsequent elimination, water is the only solvent used, the negative impact of this material on the environment is minimized. • It does not contain any components classified as toxic, biotoxic, explosive, radioactive, oxidising, corrosive, inflammable or hazardous for the environment. • Although the fabrication process is totally safe for workers, it is possible to automatize all the stages, thereby reducing the production costs. • Layers of different thicknesses may be easily obtained and they may be used at different wavelengths.UNIVERSIDAD DE BURGOS posted this:
Environmentally friendly procedure for the synthesis of aldehydes and ketones from diols/ Procedure for the oxidative cleavage of 1,2-diols using dimethyl sulfoxide as oxidizing agentThe oxidative cleavage of vicinal diols to the corresponding aldehydes or ketones is a highly useful transformation in organic synthesis. Traditional methods for carrying out this transformation encompass the use of lead tetraacetate or periodates, that show obvious disadvantages such as the high toxicity of lead tetraacetate and its use in stoichiometric amounts, that implies the generation as byproduct of big amounts of lead diacetate, also toxic. On the other hand, the use of periodates shows limitations in the scope, as ditertiary diols cannot be used. Therefore, a new method has been developed that uses as oxidant dimethyl sulfoxide, easily accessible and environmentally friendly, for the efficient synthesis of aldehydes and ketones by oxidative cleavage of 1,2-diols.UNIVERSIDAD DE BURGOS posted this:
Environmentally friendly procedure for the synthesis of aldehydes and ketones from diols/ Procedure for the oxidative cleavage of 1,2-diols using dimethyl sulfoxide as oxidizing agentThe oxidative cleavage of vicinal diols to the corresponding aldehydes or ketones is a highly useful transformation in organic synthesis. Traditional methods for carrying out this transformation encompass the use of lead tetraacetate or periodates, that show obvious disadvantages such as the high toxicity of lead tetraacetate and its use in stoichiometric amounts, that implies the generation as byproduct of big amounts of lead diacetate, also toxic. On the other hand, the use of periodates shows limitations in the scope, as ditertiary diols cannot be used. Therefore, a new method has been developed that uses as oxidant dimethyl sulfoxide, easily accessible and environmentally friendly, for the efficient synthesis of aldehydes and ketones by oxidative cleavage of 1,2-diols.Fundació URV posted this:
Environmentally friendly processing of thermosets by two-stage sequential aza-Michael addition and free-radical polymerization of amine-acrylate mixturesEnvironmentally friendly preparation of thermosets for applications on thermosensitive substrates. A two-step curing process, which consists in an Aza-Michael addition at room temperature, followed by UV radical polymerization of acrylates or methacrylates amine formulations without the need of adding solvents. The presence of amines in the structure suppress the radical inhibition by oxygen, which is a typical drawback in radical polymerizations. The invention allows leading the curing in two separate stages with a stable intermediate material, being the process controlled by the amount of amine in the formulation.Barry McGraw posted this:
EnzoMeal™ - A Sustainable Food Source for Farm-Raised FishAn advanced soybean-based fish feed, EnzoMeal addresses a key impediment to the widespread expansion of aquaculture, the fastest-growing food production sector. Historically, fisheries have used fishmeal as fish feed, but the primary ingredients—wild fish and shrimp—are rapidly dwindling resources, making the feed expensive and unsustainable. Soybean meal presents an attractive alternative. It closely meets the dietary requirements of fish: it is rich in protein content, essential fatty acids, and unsaturated fats, and it has the most balanced amino acid composition of all agricultural-based meals. Yet conventional soybean meal contains carbohydrates that fish cannot easily digest. Airable Research Lab partnered with Battelle to develop a technology that removes nondigestible carbohydrates and increases crude proteins in the soybean meal, resolving the challenges that to date have limited soybean use as a substitute fish feed protein.
CEO at Airable Research Lab, business line of Ohio Soybean CouncilUniversitat Politècnica de Catalunya - UPC posted this:
Enzymatic aqueous preparation for the surface functionalization of paper or cellulosic substratesA new biotechnological product for the chemical modification of the surface of cellulosic substrates has been patented. The bioproduct is obtained from an enzyme-mediator system, and several properties can be easily conferred to substrates applying very low concentrations of this enzymatic product in their surface. Partners to further develop the product and/or to establish commercial agreements along with technical cooperation are sought.CSIC - Consejo Superior de Investigaciones Científicas posted this:
Enzymatic production of 2,5-furandicarboxylic acid from 5-methoxymethylfurfuraa a l l CSIC, University of Zaragoza and Technische Universität Dresden have developed an enzymatic composition and its use as an enzymatic cascade for the production of 2,5-furandicarboxylic acid (FDCA) from 5-methoxymethylfurfural (MMF). This cascade is self-sustained with the only consumption of atmospheric oxygen and the MMF itself. The method can be applied to the conversion of MMF into FDCA step in the bioplastic producing industry, switching from the current inorganic catalysts employed to the use of enzymes for the FDCA production. Industrial partners are being sought to develop and commercialize the enzymatic composition through a patent licence agreement. An offer for Patent LicensingUNIVERSIDAD DE BURGOS posted this:
Enzymatic synthesis of structured lipids enriched in fatty acids. Study of its oxidative stability.It is intended to apply biotechnological procedures (lipases), alternative to chemical treatments of transesterification and hydrolysis, for the modification of fats and oils. Lipases allow carrying out enzymatic processes for the formulation of "structured" lipid nutritional products, formulated to measure for a specific nutritional or technological function. Additionally, the oxidative stability of the synthesized lipids will be evaluated.University of Waterloo posted this:
Enzyme degradable gelatin hydrogel for drug delivery in wound healingBackground Drug delivery systems, in general, help transport pharmaceutical compounds safely to the target site in the body as needed to achieve a desired therapeutic effect. The majority of drug delivery systems use a passive diffusion mechanism to slowly release their drug payload. However, such drug delivery systems are not truly controlled, as the quantity and timing of the drug release cannot be precisely controlled on demand. Gelatin-based hydrogels, such as Gelatin methacrylate (GelMA) hydrogels, are enzyme-degradable hydrogels derived from collagen. They have been studied extensively in tissue engineering applications, such as tissue scaffolding, but are not generally considered for drug delivery applications due to their poor mechanical strength and high porosity. For example, given their use as soft biocompatible gels for cell encapsulation, or as cell scaffolds, they are necessarily freely diffusive such that nutrients and large molecules can diffuse to and from the cells.
Tech Transfer CIIMARCIIMAR - Interdisciplinary Centre of Marine and Environmental ResearchTech Transfer CIIMARBusiness Development Manager at CIIMAR - Interdisciplinary Centre of Marine and Environmental Research
View ProfileTech Transfer CIIMAR posted this:
Enzyme-rich extract for Improvement of aquafeedsThe present disclosure relates to an enzyme-rich extract obtained through solid-state fermentation (SSF) of Brewer's Spent Grain (BSG) to be used as a feed additive in animal diets, preferably fish diets. The technology also discloses a pre-treatment process of plant feedstuff-based (PF) diets in order to increase the nutrient bioavailability of said diets, thus increasing their nutritional value.
Business Development Manager at CIIMAR - Interdisciplinary Centre of Marine and Environmental ResearchKyoto University posted this:
Epicardial Cell Regeneration Using p21 InhibitorsCardiovascular diseases are the number one killer worldwide. The human heart cannot regenerate, so regenerative therapeutic approaches need to be developed urgently. The wall of the heart is composed of three layers: epicardium, myocardium, and endocardium. The epicardium is the external protective layer that supports cardiac repair, i.e. reactivates upon injury to form a cardiac scar and is thus investigated as a therapeutic target tissue. Professor Yoshinori Yosida’s team is working on understanding the fundamental biology of epicardium to find pathways involved in epicardium reactivation. Their efforts led to the discovery of p21 inhibition as a way to promote epicardium regeneration.IBIMA-Plataforma Bionand posted this:
Epigenetic biomarkers for diagnosis and prevention of obesity progressionThis technology are epigenetic biomarkers that can predict the progression from metabolically healthy obsessed subjects to metabolically obese patients and that have potential to prevent metabolic deterioration in MHO patients.Dianna Gellar posted this:
Epitranscriptomic Modifications and How to Detect ThemRNA modifications, not limited to purine or pyrimidine bases, including N6-methyladenosine (m6A), 1-methyladenosine (m1A), 5-methylcytidine (m5C), 5-hydroxymethylcytidine (hm5C), 5-formylcytidine (f5C), 5-carboxycytidine (ca5C), inosine (I), pseudouridine (Ψ), and 2′-O-methylation (Nm). RNA modifications can structurally alter the pairing of nucleobases, leading to structural rearrangements of RNA and thus regulating the function of the molecule. Epistatic transcriptome modifications determine the multifunctional nature of RNA and the large number of biological processes it regulates, including RNA splicing, translation, cellular localization and lifespan. Therefore, decoding information about modifications that affect sequence or structural changes is increasingly important.
Marketing Manager at CD GenomicsBara Prixova posted this:
Equipment for planting woody-seedlings in areas of precipitation deficiencyTECHNOLOGY DESCRIPTION • The device applies a mixture of a hydrophilic polymer (hydrogel), water and optionally fertilizers and other substances at a specified dose to each seedling. • Hydrogels are strongly water-binding substances (up to 300 times their own weight), which can subsequently be used for growth and development. The water consumption of irrigated seedlings is reduced by half using hydrogel. Hydrogel also allows the growth of seedlings where it is due to lack of precipitation impossible (semi-desert, desert). Hydrogel is harmless, completely disintegrates after about five years (the time required for establishment of seedlings). • The device enables fast and efficient planting of eight thousand seedlings of forest trees, as well as agricultural crops such as coffee, banana and many others. • The device is ideal for use on large areas with low slope and well-paced terrain, such as plantations.
Commercialization Specialist at Czech University of Life SciencesUniversidad de Alicante posted this:
Equipment For The Determination Of The Isobaric Vapour-Liquid-Solid And Vapour-Liquid-Liquid-Solid EquilibriumThe research group of the University of Alicante "Phase equilibrium" has developed an equipment for the determination of isobaric equilibrium in mixtures of phases when solids are present. The equipment includes a boiler coupled with an ultrasonic probe that facilitates the reduction of the particle size of the solid, a separation chamber attached to the boiler that is connected to a condenser to carry out steam condensation and stable recirculation, and a mixing flask. In addition, with respect to the starting equipment, the diameter of the pipe joining the boiler and the mixing flask has been increased until it is sufficient to allow the circulation of solids without obstructions. Moreover, a recirculation device consisting of a recirculation channel with a controlled external electrical resistance has been incorporated to keep the mixture at bubble temperature. Valves for cleaning and sampling have also been installed on the equipment. All these innovations have allowed the research group to obtain accurate and thermodynamically consistent data of isobaric equilibrium vapour-liquid-solid (V-L-S) and vapour-liquid-liquid-solid (V-L-L-S).FCPCT ULPGC posted this:
Ergonomic and adjustable geometry swimming paddle and elastic deformation for recovery of energyThe solution proposed in this invention consists of an ergonomic blade, with modifiable geometry and behavior, thanks to a plate that deforms under hydrodynamic pressures, allowing a redistribution of these throughout the stroke cycle. This one-size-fits-all blade is presented to be used by swimmers of different levels, ages, and morphology, thanks to its adjustable geometry and influence on the behavior of use of the blade. The deformable, or flexing, plate has been optimized together with the structural plate to be adjusted by means of an effective and easy-to-use system of screws along numerous holes, which allow vertical, horizontal displacements, and counterclockwise rotations, seen from the top of the blade.UNIVERSIDAD DE BURGOS posted this:
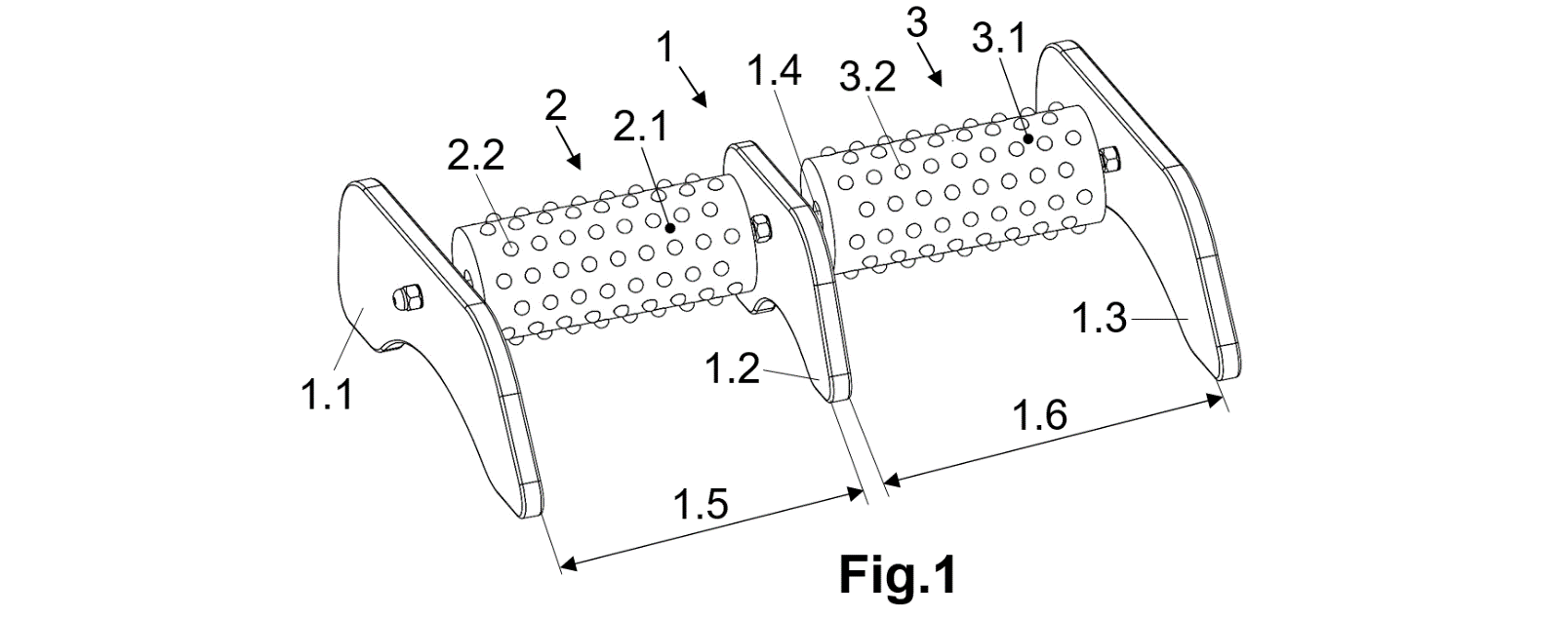
Ergonomic roller for releasing energy in people with hyperactivity, stress, or anxietyThis roller helps release stress and energy while seated, improving focus and reducing anxiety. Its ergonomic and portable design promotes proper posture and smooth, controlled foot movement. Ideal for restless individuals or those with ADHD, it offers a practical, quiet solution adaptable to any environment. Made from durable and sustainable materials, it provides a comfortable and safe user experience. Perfect for offices, classrooms, or home use.Institute of Chemical Research of Catalonia posted this:
ERTFlow: flow reaction technologies and process intensificationERTFLOW is a technology development unit from the Institute of Chemical Research of Catalonia (ICIQ), generated by the know-how produced by the research group of Prof. Miquel Pericàs, to develop and implement technical solutions in process intensification. Our goal is to develop propietary technologies related to catalysis and flow chemistry and offering products and services to the fine chemical, pharmaceutical and biotechnological industries for the production of new products with high added value and guide them in the paradigm change from batch to flow.Universidad de Alcalá-OTRI posted this:
Establishment, repair and delating procedure of disjoint multiple paths, redirection of frames and network bridge. Multiple disjoint Paths (MDP).The Research Group in Telematics Services Engineering of Alcalá University presents a procedure that solves in a simple and distributed way, without route calculations, the problem of establishing fast multiple paths between pairs of bridges bordering a network of bridges that route terminals’ traffic connected to them. The group seeks to reach license agreements, commercial agreements with technical assistance or collaboration agreements with companies in the telecommunication sector, for the application of its technology in Ethernet switches for business networks and data centers.Taras Maiula posted this:
Estrogen-related receptor gamma (ERRγ) Targeted LibraryEstrogen-related receptor gamma (ERRγ) is involved in energy metabolism, mitochondrial functions, biogenesis and tissue repair. Disorders of ERRγ are observed at type 2 diabetes, hypoxia, metabolic syndrome and cancer. Therefore, small molecule compounds modulating ERRγ activity may have significant therapeutic potential. OTAVAchemicals offers an Estrogen Related Receptor Gamma (ERRγ) Targeted Library (878 compounds in total). This special set of compounds https://bit.ly/3NqZxVt has been carefully designed with combined approach that includes application of pharmacophore screening and molecular docking.
Head of the QC department at Otava Research InstituteIlythia Morley posted this:
Evacuated tubular solar collector with eccentric type manifold flangeA team of researchers at the Korea Institute of Energy Research (KIER), have developed an advanced solar collector technology using an evacuated tubular solar collector and eccentric type manifold flange.
Intern - Commercialization Team at Korea Institute of Energy Research









































