Showing 2326 to 2340 of 2455 results


Autonomous Nanomotor Platform For CleanTech & Biomed
Patents for licensing OXA Ltd

Marine compounds with antimicrobial Activity
Patents for licensing CIIMAR - Interdisciplinary Centre of Marine and Environmental Research

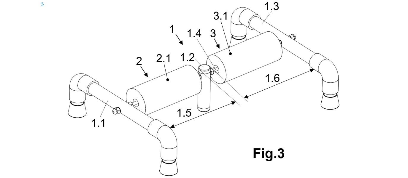
Training Device to Strength Pelvic Floor Muscle
Innovative Products and Technologies University of Porto

Water Emulsifiable Bio-based Lubricant
Innovative Products and Technologies Airable Research Lab, business line of Ohio Soybean Council

New Bioreactor for tissue engineering
Innovative Products and Technologies UATEC - Unidade de Transferência de Tecnologia![PSICODEM is a very simple software. It allows you to choose the most appropriate psychosocial intervention for people suffering fr[…]](https://static3.innoget.com/images/bgpremium.png)

PSICODEM is a very simple software. It allows you to choose the most appropriate psychosocial intervention for people suffering fr[…]
Innovative Products and Technologies Fundació UdG Medicina

Assessment model for the portfolio of clients and loyalty methodology (CUSTOMERING)
Innovative Products and Technologies Universidad de Alcalá-OTRI
Method for recycling of vessels and other structures composed of fiberglass and resin
Innovative Products and Technologies UNIVERSIDAD DE ALICANTE

Photoreactive thermoplastic copolymer-based adhesive
Patents for licensing UNIVERSIDAD DE BURGOS

Self-supporting and autonomous prosthesis for the progressive lengthening of long bones
Patents for licensing UNIVERSIDAD DE BURGOS

System of distributed irrigation monohatch with manual or automated operation.
Patents for licensing Universidad de Alcalá-OTRI

Bathroom Fall Detection Device without Camera
Innovative Products and Technologies Frame IPACE

Grease Trap Saver: Retrofit Technology for Fuel-Grade Grease Recover
Innovative Products and Technologies Grease Saver

CellNetAnalyzer: A Software Package for Analyzing Structure and Function of Cellular Networks
Innovative Products and Technologies Max-Planck-Innovation GmbH

