Duty-Cycle Controlled Switched-Capacitor Buck Voltage Regulator for Efficient On-Chip Power Management

Summary of the technology

This technology relates to a voltage regulator architecture that generates a regulated output from an input voltage using a switched-capacitor circuit that periodically produces multiple intermediate voltage levels, followed by a low-pass filter to provide the regulated output. The approach uses phase interleaving to increase effective switching frequency and reduce switching losses. Regulation is achieved by modulating switch resistance via duty cycle control, which in turn controls the average voltage on flying capacitors. A control unit selects the operating region and drives switch configurations via a state-machine-based controller.

American University in Cairo

Details of the Technology Offer

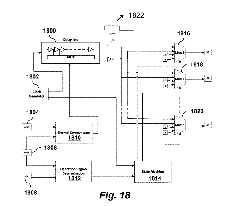
What it is: A power-management / DC-DC regulation concept combining a switched-capacitor stage (producing a time-varying multi-level node voltage) with a low-pass filter to deliver a regulated output voltage.

Core control concept: Instead of relying primarily on switching-frequency control, the invention regulates the output by duty-cycle control that modulates the effective on-resistance of switches through control of the average flying-capacitor voltages.

Loss and performance-oriented operation: The switched-capacitor operation can use phase interleaving (interleaving phases corresponding to different voltage levels) to increase effective switching frequency and reduce switching losses.

Control structure: A controller/control unit determines the operation region and configures the switched-capacitor circuit accordingly; the controller includes a state machine that determines switch configurations across phases of a complete switching cycle.

Commercial relevance: Applicable to integrated and discrete power-conversion blocks where controllable, efficient conversion and practical control simplicity are valuable (e.g., PMICs / VRMs / on-chip regulators).

Current development status

Experimental technologies

Applications

On-chip and module-level DC-DC voltage regulators

PMIC / VRM architectures for processors, MCUs, SoCs

Power management for mobile, IoT, and embedded systems

Switched-capacitor power converters where efficiency and switching-loss reduction via interleaving is relevant

General buck regulation use cases requiring controllable regulated output voltage.

Desired business relationship

Patent licensing

Joint ventures

Technology development

New technology applications

Adaptation of technology to other markets

Intellectual property status

Attached documents

Related Keywords

  • Electronics, IT and Telecomms
  • Industrial Technologies
  • Digitalization
  • Other Computer Related
  • Electronics Related Market

About American University in Cairo

The American University in Cairo (AUC) is committed to teaching and research of the highest caliber and provides exceptional liberal arts and professional education in a cross-cultural environment. With a diverse campus community and strong academic ecosystem, AUC advances research, applied innovation, and real-world impact in Egypt and beyond. AUC’s Technology Transfer Office supports this mission by protecting university intellectual property and partnering with industry to license technologies and enable spin-outs.

George Efram

Never miss an update from George Efram

Create your free account to connect with George Efram and thousands of other innovative organizations and professionals worldwide

George

Send a request for information
to George

About Technology Offers

Technology Offers on Innoget are directly posted
and managed by its members as well as evaluation of requests for information. Innoget is the trusted open innovation and science network aimed at directly connect industry needs with professionals online.

Help

Need help requesting additional information or have questions regarding this Technology Offer?
Contact Innoget support