Ergonomic roller for releasing energy in people with hyperactivity, stress, or anxiety

Summary of the technology

This roller helps release stress and energy while seated, improving focus and reducing anxiety. Its ergonomic and portable design promotes proper posture and smooth, controlled foot movement. Ideal for restless individuals or those with ADHD, it offers a practical, quiet solution adaptable to any environment. Made from durable and sustainable materials, it provides a comfortable and safe user experience. Perfect for offices, classrooms, or home use.

UNIVERSIDAD DE BURGOS
UNIVERSIDAD DE BURGOS

Details of the Technology Offer

Problem that this technology will address

This technology addresses the problem of difficulty maintaining concentration and proper posture in people with ADHD, anxiety, or restlessness, especially during long periods of sitting. These individuals often need to move constantly, which can lead to disruptive behaviors or incorrect postures. Current market solutions have limitations such as discomfort, lack of portability, or poor ergonomics. The proposed ergonomic roller allows controlled foot movement, facilitating energy release, motor and sensory self-regulation, and improved concentration. Additionally, it promotes a healthy posture, is quiet, portable, and adaptable to different environments such as classrooms, offices, or homes.

Applications

This technology is intended for people with Attention Deficit Hyperactivity Disorder (ADHD), anxiety, stress, or motor restlessness. It is used in environments where maintaining concentration for prolonged periods while seated is required, such as classrooms, offices, or occupational therapy settings.

It is ideal for:

  • Improving motor and sensory self-regulation in restless or hyperactive individuals.
  • Reducing disruptive behaviors caused by excess energy.
  • Facilitating concentration in academic, work, or therapeutic activities.
  • Promoting proper ergonomic posture to prevent muscle pain and postural fatigue

New and innovative aspects

The main innovation lies in the portable design with independent rollers that allow smooth and controlled foot movement, facilitating motor self-regulation without restricting freedom of movement. This system naturally promotes concentration and ergonomic posture. The combination of controlled mobility and adaptable design sets this technology apart from existing market solutions.

Main advantages of its use

  • Improves concentration through controlled and continuous foot movement.
  • Supports motor and sensory self-regulation, reducing restlessness and anxiety.
  • Promotes ergonomic posture, helping to prevent muscle pain and postural fatigue.
  • Portable and compact, adaptable to classrooms, offices, and homes.
  • Silent operation, avoiding distractions in the environment.
  • No installation or maintenance required.
  • Allows mobility without restricting freedom of movement, unlike fixed or noisy products.
  • Made from durable and sustainable materials, providing added environmental value

Specifications

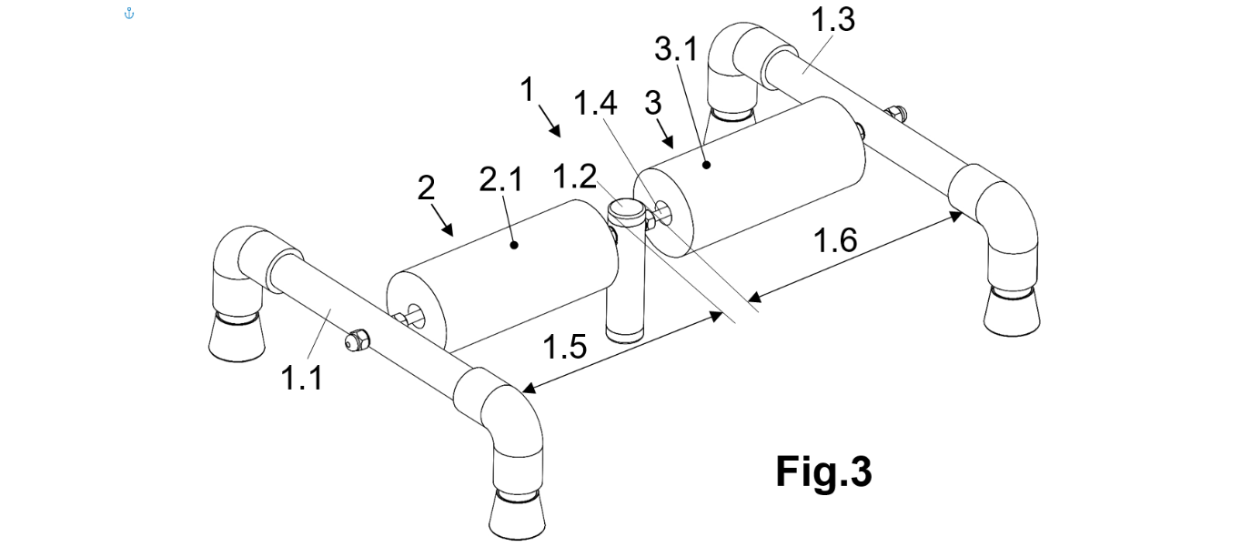
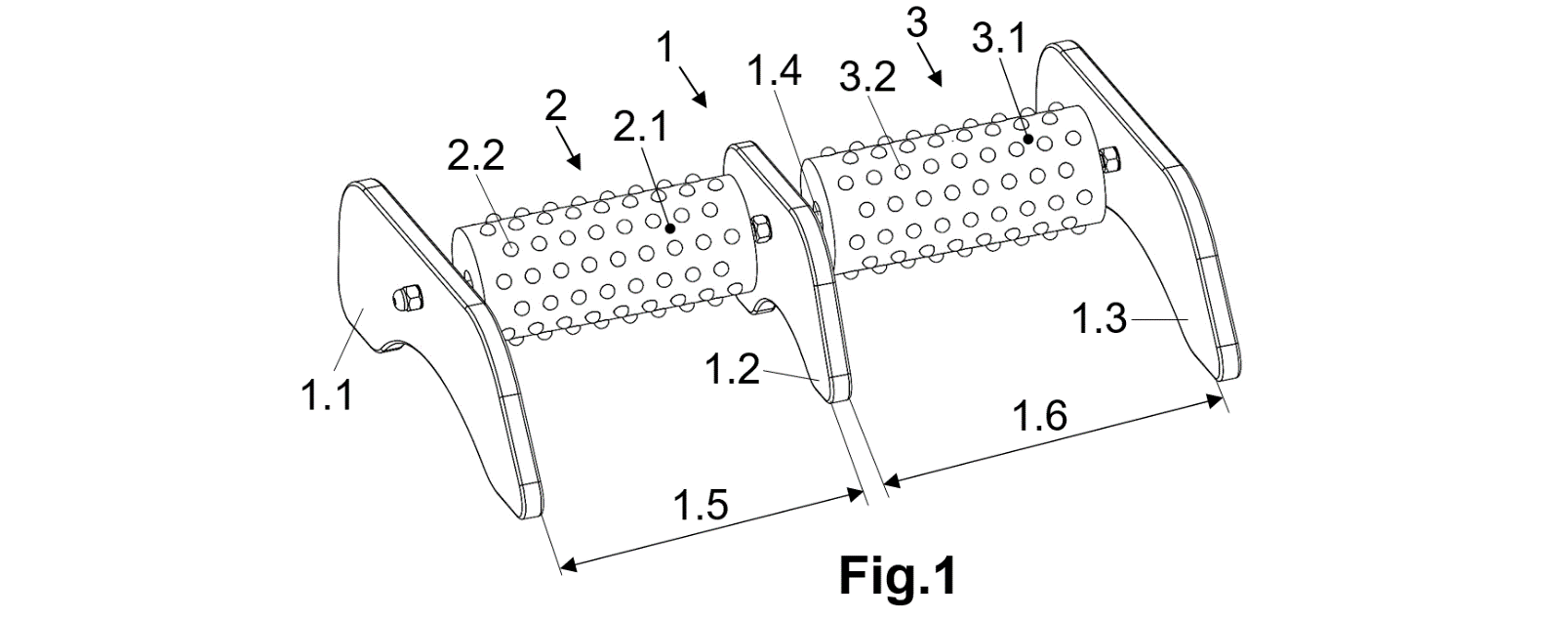
  • Two independent rollers allowing smooth and controlled foot movement.
  • Compact dimensions, suitable for use under desks.
  • Lightweight design that facilitates transport and use in different locations.
  • Durable and sustainable materials, with high durability and easy cleaning.
  • No installation or technical maintenance required.
  • Development stage: validated prototype.

Desired business relationship

The aim is to establish a collaboration with companies interested in manufacturing, distributing, or marketing the product internationally. This partnership type is selected to leverage the local market knowledge, production capacity, and distribution networks of the partner. The goal is to bring this technology to the global market, adapting it if needed to various usage contexts such as offices, schools, or therapeutic environments. International cooperation is envisioned as a joint development to scale up production and increase its social and commercial impact.

Current development status

Available for demonstration

Intellectual property status

Protected by Utilitary Model U202530719

Intellectual property status

Related Keywords

  • Design and Modelling / Prototypes
  • Forming (rolling, forging, pressing, drawing)
  • Moulding, injection moulding, sintering
  • Technology, Society and Employment
  • care and health services
  • furnace technology
  • construction of heating boilers

About UNIVERSIDAD DE BURGOS

The aim of the Technology Transfer Office (TTO) of the Universidad de Burgos is to promote Innovative technology through the research results transfer and the connections between the University and the new needs and requirements of society - we are the link between the University and the Industry. Contact person: José Manuel López (jmllopez@ubu.es)

UNIVERSIDAD DE BURGOS

Never miss an update from UNIVERSIDAD DE BURGOS

Create your free account to connect with UNIVERSIDAD DE BURGOS and thousands of other innovative organizations and professionals worldwide

UNIVERSIDAD DE BURGOS

Send a request for information
to UNIVERSIDAD DE BURGOS

About Technology Offers

Technology Offers on Innoget are directly posted
and managed by its members as well as evaluation of requests for information. Innoget is the trusted open innovation and science network aimed at directly connect industry needs with professionals online.

Help

Need help requesting additional information or have questions regarding this Technology Offer?
Contact Innoget support