Showing 21991 to 22005 of 22493 results


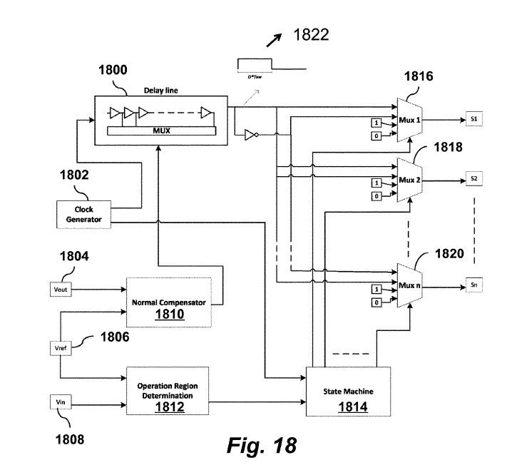
Duty-Cycle Controlled Switched-Capacitor Buck Voltage Regulator for Efficient On-Chip Power Management
Patents for licensing American University in Cairo

Sporeforming probiotic strains for aquaculture
Patents for licensing CIIMAR - Interdisciplinary Centre of Marine and Environmental Research

Guided Relaxation Program in Virtual Reality: PMR Virtual Training
Patents for licensing UNIVERSIDAD DE BURGOS

Autonomous device for capturing aquatic eDNA
Patents for licensing CIIMAR - Interdisciplinary Centre of Marine and Environmental Research

Ultra-violet absorbing compounds with antimicrobial properties
Patents for licensing CIIMAR - Interdisciplinary Centre of Marine and Environmental Research

GREENPET: sustainable transformation of PET waste into a kit of sensors for environmental and didactic applications
Innovative Products and Technologies University of Porto![Eco-friendly phytosomes for the delivery of naturally occurring bioactive ingredients of interest for pharmaceutical, cosmetic and[…]](https://static6.innoget.com/uploads//103c2c224aa268a0026e465d0660f402dd30e003.png)

Eco-friendly phytosomes for the delivery of naturally occurring bioactive ingredients of interest for pharmaceutical, cosmetic and[…]
Innovative Products and Technologies University of Porto

Adjustable geometry swimimng blade and elastic deformation for recovery of energy
Patents for licensing FCPCT ULPGC

Power supply system controlled from internet for devices connected to a lan
Knowhow and Research output University of Huelva

Construction procedure of vertical wells with interior cladding
Patents for licensing University of Huelva

New wheel slip reset controller for brake systems
Patents for licensing University of Vigo

Double port injector to corneal transplant DMEK
Patents for licensing Universidad de Alcalá-OTRI

Noble metal-free ceria-based diesel soot combustion catalyst, suitable for gas purification in Diesel engine exhausts
Patents for licensing Universidad de Alicante

A very innovative accessory element to distribute and redirect the air flow for split air conditioning
Patents for licensing Universidad de Cádiz![Sensor fluorimétrico, basado en un material polimérico, para la detección “in situ” y cuantificación de aniones, cloruros […]](https://static3.innoget.com/images/bgpremium.png)

